مدونة المحترف | |
- باستعمال تقنية الذكاء الإصطناعي ! تطبيق مبهر يجعلك تظهر في الفيديوهات و الأفلام الشائعة لتكون شخصية حقيقية فيها بشكل لا يصدق
- اضف هذا السطر البرمجي البسيط على صفحتك و تحدث مع زوار موقعك عبر مكالمة فيديو مجانا !
- بالفيديو: iPhone 12 Pro يخضع لأقسى اختبارات التعذيب!
- آخر المعلومات عن نظام هواوي للتشغيل الجديد HarmonyOS
- تقارير: نتفليكس تطلق تحديثا جديدا يغضب المستخدمين!
- براءة اختراع تكشف عن ميزة رائعة في نظارات آبل الذكية Apple Glass
| Posted: 30 Oct 2020 04:48 AM PDT ﺗﻌﺪ ﺗﻘﻨﻴﺔ ﺍﻟﺘﻌﺮﻑ ﻋﻠﻰ ﺍﻟﻮﺟﻮﻩ ﺃﺣﺪ ﻣﻈﺎﻫﺮ تطور ميزة ﺍﻟﺬﻛﺎﺀ ﺍﻻﺻﻄﻨﺎﻋﻲ ﻭﻣﻌﺎﻟﺠﺔ ﺍﻟﺼﻮﺭ معها ، و أصبح الأمر لا ﻳﻘﺘﺼﺮ في ﺍﺳﺘﺨﺪﺍﻡ ﺍﻟﺬﻛﺎﺀ ﺍﻻﺻﻄﻨﺎﻋﻲ على ﺍﻟﻤﻬﺎﻡ ﺍﻟﻤﺘﺨﺼﺼﺔ ﻭﺍﻷﻣﻨﻴﺔ ﻓﺤﺴﺐ ، بل ﺗﻄﻮر ليدعم مشاريع الترفيه أيضا ، و من هذه الناحية قد يبدو من الممتع جدا تجربة الظهور في مقاطع الفيديو المفضلة لديك بجانب الشخصيات التي تمثل فيها بشكل يبدو حقيقي إلى حد كبير جدا ، هذه الفرصة التي يوفرها تطبيق Reface المتاح لكلا النظامين الاندرويد و ال IOS الخاص بالايفون ، التطبيق يوفر أيضا تجربة تحويل ﺻﻮﺭ ﺍﻟﻔﻨﺎﻧﻴﻦ و المشاهير إلى هذه الشخصيات بكل سهولة ، الشيء الذي يخلق ﺗﻮﻗﻌﺎﺕ ﻏﻴﺮ ﻣﻨﻄﻘﻴﺔ ﺃﻭ ﻭﺍﻗﻌﻴﺔ و بعض الأحيان مواقف مضحكة أيضا ، و بالتالي إذا كنت تبحث عن طريقة لإضافة ﺟﺮﻋﺔ ﻣﻦ ﺍﻟﻔﻜﺎﻫﺔ ﺇﻟﻰ ﺍﻟﻤﺤﺘﻮﻯ ﺍﻟﺬﻱ ﺗﺸﺎﺭﻛﻪ ﻋﺒﺮ ﺍﻹﻧﺘﺮﻧﺖ ، فاليوم سأقدم لك خدمة جديدة تساعد في تركيب صورك الشخصية لتضمينها في مقاطع الفيديو الرائجة تشبه لحد ما الشخصيات التي تظهر في الأفلام الأجنبية ، و لهذا إذا كنت تعتقد أن ﻋﻤﻠﻴﺔ ﺗﺤﻮﻳﻞ ﺍﻟﺼﻮﺭ ﺇﻟﻰ تأثير قوية قد تعتبر ﻭﺍﺣﺪﺓ ﻣﻦ أكثر الأمور ﺗﻌﻘﻴﺪﺍً ﻟﻠﻘﻴﺎﻡ ﺑﻬﺎ و ﺗﺤﺘﺎﺝ ﺇﻟﻰ ﺧﺒﻴﺮ للعمل على ﺑﺮﻧﺎﻣﺞ التعديل المتطورة مثلا ، فإن هذه الفكرة خاطئة إذا جربت خدمة هذا التطبيق . في البداية ستقوم بالضغط على خيار Start . بعدها لك خيارين ، الأول التقاط صورة Selfie شخصية و الثاني تحديد الصور التي تود تضمينها في مقاطع الفيديو . في حالتي شخصيا سأختار صورة عشوائية لأحد المشاهير التطبيق سيقترح عليك خطة مدفوعة للاستفادة من مزايا متقدمة أخرى عن تلك التي تجدها في التجربة المجانية ، و في هذه الحالة سأكتفي بالخطة المجاني و اضغط على هذا الخيار . الآن كل ما عليك هو أن تختار أحد الفيديوهات أو مقاطع فيديو للأفلام التي تود تركيب وجهك على إحدى الشخصيات . بعدها تنتظر حتى تكتمل عملية التحميل كما في الصورة . و النتيجة النهائية ستذهلك كما تشاهد في الصورة حيث تم تضمين الصورة التي حددتها في مقطع الفيديو الذي اخترته سابقا بشكل لا يصدق . التطبيق يوفر شخصيات قريبة جدا للصور المحددة بالاعتماد على تقنية الذكاء الإصطناعي ، يمكنك أن تذهل بها أصدقائك عبر منصات التواصل الاجتماعية ، و إليك رابط التطبيق لتحميله على الأندرويد ، و الأيفون . الكاتب: سليمان المودن |
| اضف هذا السطر البرمجي البسيط على صفحتك و تحدث مع زوار موقعك عبر مكالمة فيديو مجانا ! Posted: 30 Oct 2020 04:32 AM PDT ترجمة ﻣﺸﺮﻭﻋﻚ ﻋﻠﻰ ﺍﻹﻧﺘﺮﻧﺖ له ﺃﻫﻤﻴﺔ ﺑﺎﻟﻐﺔ ﻓﻲ وقتنا ﺍﻟﺤﺎﻟﻲ ﻭﺫﻟﻚ ﻛﻮﻥ ﻇﻬﻮﺭ ﻣﺸﺮﻭﻋﻚ ﺍﻟﻜﺘﺮﻭﻧﻴﺎ ﻳﻌﺪ ﻣﺼﺪﺭ ﺍﺳﺎﺳﻲ ﻹﺷﻬﺎﺭ ﻋﻼﻣﺘﻚ ﺍﻟﺘﺠﺎﺭﻳﺔ ﻭﺗﺮﻭﻳﺞ ﺧﺪﻣﺎﺗﻚ ﻭﻣﻨﺘﺠﺎﺗﻚ ﻭ ﺗﺤﺴﻴﻦ ﻓﺮﺹ ﺍﻟﺪﺧﻞ ﻭﺯﻳﺎﺩﺓ ﻣﺒﻴﻌﺎﺗﻚ ، و ذلك يتأتى بفتح موقع ويب لخدمتك توفر فرصة ﺍﻟﺘﻮﺍﺻﻞ ﺑﺸﻜﻞ ﺗﻔﺎﻋﻠﻲ ﻣﻊ زبنائك ﺑﺎﻹﺿﺎﻓﺔ ﺇﻟﻰ ﺇﻣﻜﺎﻧﻴﺔ ربطها مع منصات ﺍﻟﺘﻮﺍﺻﻞ الإجتماعية ﻹﺿﻔﺎﺀ ﻣﺰﻳﺪ ﻣﻦ ﺍﻹﻧﺘﺸﺎﺭ و إستهداف ﺷﺮﺍﺋﺢ ﺃﺧﺮﻯ ﻣﻦ ﺍﻟﺰﺑﺎﺋﻦ ، و بالتالي يكون ﺍﻟﻬﺪﻑ ﺍﻷﺳﺎﺳﻲ ﻣﻦ ﺇﻧﺸﺎﺀ المواقع ﻫﻮ ﺃﻥ ﻳﻜﻮﻥ ﻟﻚ ﺗﻮﺍﺟﺪ ﺩﺍﺋﻢ على ﺷﺒﻜﺔ ﺍﻻﻧﺘﺮﻧﺖ ، ﺗﺨﻴﻞ ﺍﻧﻚ ﺗﻤﻠﻚ ﻣﺤﻞ ﺗﺠﺎﺭﻱ ﻓﻲ ﺃﻓﻀﻞ ﺍﻷﻣﺎﻛﻦ ﻭ ﻳﻌﻤﻞ ﻃﻮﺍﻝ ﺍﻟﻴﻮﻡ ، ﻫﻜﺬﺍ ﻫﻲ ﺷﺒﻜﺔ ﺍﻻﻧﺘﺮﻧﺖ ﻓﻤﻦ ﺧﻼﻝ موقعك الخاص يمكنك ﺃﻥ ﺗﺴﻮﻕ لمنتوجك ﺃﻭ ﺧﺪﻣﺘﻚ ﺑﻜﻞ ﺳﻬﻮﻟﺔ ، إلا أنه لنجاح مشروعك يجب أن نتفق في نقطة وهي التواصل المستمر مع الزوار ، اﻟﻜﺜﻴﺮ منا ﻋﻨﺪﻣﺎ ﻳﺘﻌﺮﺽ ﻟﻤﺸﻜﻠﺔ ﻭﻳﺮﻳﺪ حلها يتقدم إلى مصدر الخدمة لاستفساره ، وﺍﻟﺴﺒﺐ في ذلك ﺃﻥ ﺍﻟﺘﻮﺍﺻﻞ ﺍﻟﻤﺒﺎﺷﺮ مع صاحب الموقع ﻳﺤﻞ ﺍﻟﻤﺸﻜﻠﺔ ﺑﺸﻜﻞ ﺳﺮﻳﻊ ﺩﻭﻥ ﺍﻻﻧﺘﻈﺎﺭ ﻓﻲ ﺧﻄﻮﻁ ﺍﻟﻬﺎﺗﻒ ﺃﻭ ﺍﻧﺘﻈﺎﺭ ﺍﻟﺮﺩ ﻣﻦ ﺧﻼﻝ رسالة ﺍﻟﺒﺮﻳﺪ ﺍﻹﻟﻜﺘﺮﻭﻧﻲ ، و بالتالي ﻣﻦ ﺍﻓﻀﻞ ﺧﻄﻂ ﻧﺠﺎﺡ مشروعك ﻫﻮ ﺍﻟﺘﻔﺎﻋﻞ ﻣﻊ ﺍﻟﺰﻭﺍﺭ ﺩﺍﺧﻞ ﻣﻮﻗﻌﻚ ﻓﻬﺬﺍ ﻳﺠﻌﻞ ﻣﻨﻚ ﺷﺨﺺ ﺍﺣﺘﺮﺍﻓﻲ ﻭ ﻣﺘﻌﺎﻭﻥ لدى الزائر ﺑﺸﻜﻞ ﺍﻛﺒﺮ ، الشيء الذي يجعلهم يثقون بموقعك ﻛﺜﻴﺮﺍ ، ﻭﺃﻓﻀﻞ أساليب التواصل المفضلة للتحدث ﻣﻊ ﺍﻟﻤﺴﺘﺨﺪﻣﻴﻦ ﻭﺍﻟﺘﻲ نجدها محصورة فقط في منصات التواصل الاجتماعية ﻫﻲ ﺍﻟﻤﺤﺎﺩﺛﺔ ﺍﻟﻤﺒﺎﺷﺮﺓ عن طريق مكالمة فيديو ، هذه الخاصية الرائعة التي سوف أشاركها معك في هذه التدوينة الجديدة ، حيث سأقدم لك خدمة تسمح باجراء مكالمة فيديو مع الزوار الذين يتنقلون في موقعك في الوقت الحالي . في الواجهة الرئيسية للخدمة ، تقوم بالضغط على خيار start for free للتسجيل . الآن تقوم بملأ الخانات بما يقابلها بمعلوماتك الشخصية الحقيقية . بعدها الضغط على خيار Start Setup بعد ذلك سيطلب منك الموقع وضع الكود البرمجي في سطر ال Head الخاص بقالب موقعك ، و تأكد وضعه في أي صفحة تود تفعيل إجراء مكالمة الفيديو داخلها ( في حالة لا تعرف طريقة وضع الاكواد في مسار ال head يكفي البحث عنها في اليوتيوب و ستظهر مئات الشروحات البسيطة تشرح ذلك ) بعدها أي زائر يتنقل في موقعك ، سوف تنبثق له أيقونة start video call بمجرد أن النقر عليها سوق تتم عملية إجراء المكالمة المرئية بالصوت و الصورة معك . الكاتب: سليمان المودن |
| بالفيديو: iPhone 12 Pro يخضع لأقسى اختبارات التعذيب! Posted: 30 Oct 2020 04:10 AM PDT ككل مرة يخرج فيها هاتف جديد و مهم للأسواق، فإن المدون و صاحب قناة الفيديو الشهيرة JerryRigEverything لا بد و ان يقوم بإخضاع هذا الهاتف إلى أقسى اختبارات التحمل سواء على مستوى الشاشة أو الواجهة الخلفية، لدرجة أن الأمر يبدو كما لو أنه جلسة تعذيب لهذا الهاتف! و هذه المرة فإن الهاتف الذي خلق الحدث هو هاتف شركة آبل الجديد و المميز iPhone 12 Pro و الذي خضع لأقسى الاختبارات من طرف JerryRigEverything، و كانت أبرز الاختبارات التي ظهرت في الفيديو هي الاختبارات المعروفة في هذا النوع من الفيديوهات كاختبارات السقوط لمعرفة مدى قدرة الهاتف على التحمل بالإضافة إلى تعريض الواجهة الأمامية و الخلفية للخدوش بآلة حادة، بالإضافة إلى اختبارات الحرق بالولاعة و كذلك تحمل الطي. |
| آخر المعلومات عن نظام هواوي للتشغيل الجديد HarmonyOS Posted: 30 Oct 2020 04:01 AM PDT تواصل شركة التكنولوجيا الصينية العملاقة هواوي العمل على نظامها للتشغيل الجديد HarmonyOS و الذي سيعوض نظام جوجل أندرويد على هواتفها المستقبلية و ذلك بسبب العقوبات المفروضة على الشركة من طرف إدارة الرئيس الأمريكي دونالد ترامب في إطار ما يعرف بالحرب التجارية ما بين الولايات المتحدة الأمريكية و الصين. و في خرجة إعلامية جديدة لمسؤولي هواوي للحديث عن نظام HarmonyOS، أشار Wang Chenglu مدير قطاع هندسة البرمجيات لدى الشركة الصينية لموقع ITHome المتخصص أن شركة هواوي بدأت بتطوير نظام تشغيلها الخاص HarmonyOS في عام 2016، أي قبل ثلاث سنوات من تاريخ فرض العقوبات القاسية عليها من طرف السلطات الأمريكية، و أن عمليات التطوير تسير بالشكل الذي خططت له الشركة، حيث ستكون النسخة التجريبية متوفرة للمطورين ابتداء من شهر ديسمبر المقبل. و للتذكير فإنه حسب الأخبار الجديدة القدمة من الشركة الصينية و التي تشير إلى أن أولى الهواتف التي ستستفيد من هواوي HarmonyOS 2.0 في نسخته التجريبية نجد في المرحلة الأولى الهواتف بمعالج Kirin 9000 أي الهاتفين المنتظرين في الصين هذا الشهر و هما كل من Mate 40 و Mate 40 Pro. أما المرحلة الثانية فستكون خاصة بالهواتف بمعالجات Kirin 990 5G و يتعلق الأمر بهاتفي P40 و P40 Pro ثم في مرحلة ثالثة هواتف هواوي بمعالجات Kirin 990 4G و Kirin 985 و Kirin 820، فيما ستخص المرحلة الرابعة هواتف هواوي التي تعمل بمعالجات Kirin 980 و أخيرا هواتف هواوي بمعالجات Kirin 810 و Kirin 710، و ستكون النسخة التجريبية مفتوحة للمستخدمين على عدد قليل من الهواتف الذكية الخاصة بهواوي ما بين شهري يناير و فبراير من العام 2021، و ذلك قبل التوصل إلى النسخة النهائية من هذا النظام و التي لن تكون متوفرة إلا في وقت لاحق من نفس العام. |
| تقارير: نتفليكس تطلق تحديثا جديدا يغضب المستخدمين! Posted: 30 Oct 2020 03:44 AM PDT يبدو أن منصة البث الحي و التدفقي حسب الطلب نتفليكس مازالت مستمرة في إتخاذ قرارات لا تعجب غالبية المستخدمين عبر العالم و خصوصا في الولايات المتحدة الأمريكية، حيث سبق للمنصة أن ألغت فترة التجريب المجاني و هو قرار قوبل بالكثير من الاستهجان، لكنها اتخذت قرارا آخر يسير في نفس المنحى. و بحسب وسائل الإعلام المختصة فإن منصة نتفليكس قررت الرفع من ثمن الاشتراكات على منصتها _ في الولايات المتحدة الأمريكية على الأقل_ حيث أصبح الاشتراك المبدئي هو 13,99 دولارا أمريكيا بدل 12,99 دولارا أمريكيا، فيما وصل عرض Premium و هو العرض الأعلى بالنسبة للمنصة و الذي يتيح الاستفادة من مشاهدة العروض المقدمة من نتفليكس على أربع شاشات بالإضافة إلى تقنية العرض 4K وصل إلى 17,99 دولارا أمريكيا بدلا من 15,99 دولارا أمريكيا. و قال الناطق الرسمي باسم نتفليكس في تصريح للموقع الأمريكي المتخصص The Verge إن الرفع من أثمان الاشتراكات الخاصة بمنصتها يهدف إلى تحسين المحتوى و تنويع العروض المقدمة على المنصة، و هو تبرير لم يرضي الكثير من المستخدمين، خصوصا بعد أيام من إلغاء نتفليكس لمسألة الشهر التجريبي الذي كان متاحا في السابق للمستخدمين الجدد. و كانت تقارير صحفية أشارت إلى أن منصة نتفليكس للبث الحي و التدفقي ألغت ميزة التجربة المجانية على منصتها و التي تدوم ثلاثين يوما قبل أن تبدأ الشركة في الفوترة على حساب المستخدم، و تقول المصادر إن الشركة بدأت هذه الخطوة الجديدة بشكل غير معلن عنه و من دون أن تكشف عن ذلك رسميا، و هو ما انتبه له عدد من المستخدمين في الولايات المتحدة الأمريكية، و هي ليست خطوة جديدة من الشركة لكنها تسجل لأول مرة في أمريكا. |
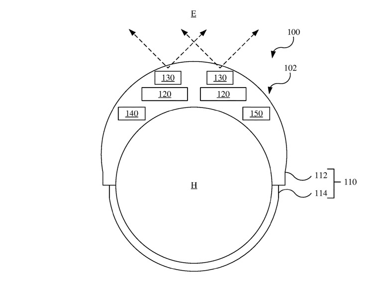
| براءة اختراع تكشف عن ميزة رائعة في نظارات آبل الذكية Apple Glass Posted: 30 Oct 2020 03:24 AM PDT تعتبر النظارات الذكية لآبل "Apple Glass" واحدة من أهم الابتكارات التي ينتظرها محبو العلامة التجارية لآبل و كذى متابعو التكنولوجيا بشكل عام، و رغم أن التقارير تتحدث عن هذه النظارات منذ مدة، إلا أننا ما زلنا بعيدين عن رؤيتها في الأسواق، لكن ذلك لا يمنع من أن آبل ما زالت تقوم بتطويرها في أفق اعتمادها بشكل رسمي. الأخبار الجديدة قادمة من موقع Apple Insider المتخصص في قضايا شركة آبل كشف عن ميزة جديدة و مميزة جدا ستكون مدمجة في نظارات آبل الذكية المنتظرة Apple Glass، و يتعلق الأمر بميزة "الرؤية الليلية" و ذلك اعتمادا على تقنية "ليدار" و هي تقنية الاستشعار عن بعد مرئية باستخدام نبضات الضوء، من أجل تحديد المدى عن طريق الضوء أو الليزر، و هي الميزة التي أصبحت معتمدة بالمناسبة في هاتفي آيفون 12 الجديدين من طراز iPhone 12 Pro و Pro Max. و بحسب موقع Apple Insider فإن شركة آبل قامت بوضع براءة اختراع جديدة تكشف فيها عن إدماج ميزة ليدار في نظارات Apple Glass الجديدة، و ستحمل إسم "Head-Mounted Display With Low Light Operation" حسب البراءة، و هي عبارة عن مزج بين ليدار و الرادار و ستستمح لنظارات آبل الذكية بتحديد البيئة المحيطة بالمستخدم في الظلام أو الإضاءة المنخفضة و إعادة رسمها. و باستثناء براءة الاختراع الحالية، فإننا ما زلنا لا نعرف الكثير عن نظارات آبل الجديدة. |
| You are subscribed to email updates from موضوع جديد لك. To stop receiving these emails, you may unsubscribe now. | Email delivery powered by Google |
| Google, 1600 Amphitheatre Parkway, Mountain View, CA 94043, United States | |



















ليست هناك تعليقات:
إرسال تعليق